πŸ—οΈ Arbio System Design

Challenge: Design the OldHost Sync Layer β€” compress 300+ ops/sec down to 2.5 ops/sec

300+
Input ops/sec
2.5
OldHost ops/sec
4h
Consistency SLA
30s
Emergency SLO
15min
Ban Duration

πŸ“‘ Table of Contents


πŸ“Š Architecture Diagrams

Hand-Drawn Style (Excalidraw)

Simple, clean diagram for whiteboard presentation:

Excalidraw style diagram

Detailed Architecture

Full system with all components:

Detailed whiteboard diagram

Simplified Flow

Quick reference version:

Simple whiteboard diagram

1. Requirements (5 min)

Functional Requirements

  1. Instant UI Feedback: User/Agent actions must reflect in UI within 200ms
  2. Eventual Sync: All state changes must sync to OldHost (legal system of record)
  3. Priority Handling: Emergency events (guest locked out) must sync within 30 seconds
  4. Crash Recovery: System must recover from writer crashes without data loss or nonce issues

Non-Functional Requirements

  1. Consistency SLA: OldHost must be consistent with Arbio within 4 hours
  2. Availability: UI must remain responsive even if OldHost is slow or down
  3. Durability: Zero data loss β€” every event must eventually reach OldHost

Scale & Constraints

MetricValue
Units managed50,000
Peak input rate300+ ops/sec (10K events in 30 min)
OldHost throughput2.5 ops/sec (400ms latency, single-threaded)
OldHost constraintsSingle TCP socket, sequential nonce (N→N+1→N+2)
Nonce violation penaltiesGap = 400 error, Replay = 15-minute ban

The Core Problem: We need to compress 300+ ops/sec down to 2.5 ops/sec while maintaining correctness.


2. Core Entities & API (5 min)

Data Model

-- Shadow State (instant reads)
units (
  id, name, property_id,
  status,                    -- Clean/Dirty/Cleaning
  sync_status,               -- PENDING_SYNC / SYNCED / SYNC_FAILED
  synced_at
)

-- Transactional Outbox (durable writes)
outbox_events (
  id, idempotency_key UNIQUE,
  entity_type, entity_id,
  event_type, payload JSON,
  priority_class,            -- EMERGENCY / TXN / LWW
  created_at, processed_at
)

-- Nonce Ledger (crash-safe nonce state)
nonce_ledger (
  id DEFAULT 1,              -- Singleton row
  next_nonce BIGINT,
  last_applied_nonce BIGINT
)

nonce_requests (
  nonce BIGINT PRIMARY KEY,
  idempotency_key UNIQUE,
  status,                    -- RESERVED / SENT / APPLIED / FAILED
  created_at, sent_at, completed_at
)

-- Leader Election
writer_lease (
  id DEFAULT 1,              -- Singleton row
  owner_id, epoch INT,       -- Fencing token
  acquired_at, expires_at
)

API Design

Internal (Agent β†’ Sync Layer)

POST /api/units/{id}/status
  Body: { status: "Clean" }
  Response: { sync_status: "PENDING_SYNC" }  // < 200ms

External (Sync Layer β†’ OldHost)

POST /oldhost/sync
  Headers: X-Nonce: 501
  Body: { unit_id, status, ... }
  Response: 200 OK | 400 (gap/replay)
  
GET /oldhost/expected-nonce
  Response: { expected_nonce: 502 }

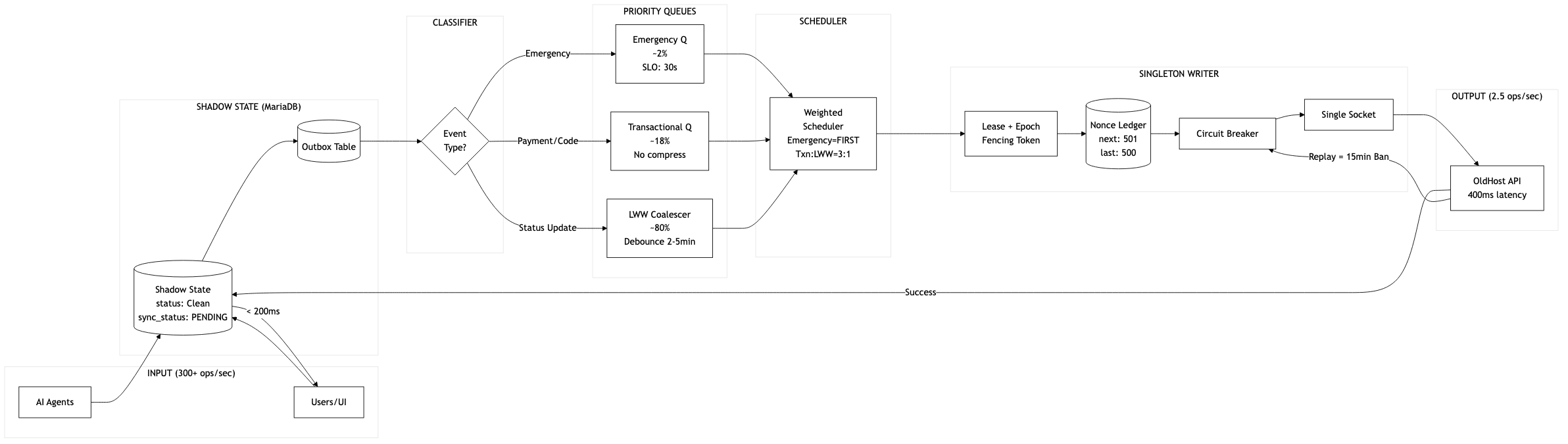
3. High Level Design (10 min)

β”Œβ”€β”€β”€β”€β”€β”€β”€β”€β”€β”€β”€β”€β”€β”€β”€β”€β”€β”€β”€β”€β”€β”€β”€β”€β”€β”€β”€β”€β”€β”€β”€β”€β”€β”€β”€β”€β”€β”€β”€β”€β”€β”€β”€β”€β”€β”€β”€β”€β”€β”€β”€β”€β”€β”€β”€β”€β”€β”€β”€β”€β”€β”€β”€β”€β”€β”€β”€β”€β”€β”€β”€β”€β”€β”€β”€β”€β”€β”
β”‚                              HIGH LEVEL DESIGN                              β”‚
β””β”€β”€β”€β”€β”€β”€β”€β”€β”€β”€β”€β”€β”€β”€β”€β”€β”€β”€β”€β”€β”€β”€β”€β”€β”€β”€β”€β”€β”€β”€β”€β”€β”€β”€β”€β”€β”€β”€β”€β”€β”€β”€β”€β”€β”€β”€β”€β”€β”€β”€β”€β”€β”€β”€β”€β”€β”€β”€β”€β”€β”€β”€β”€β”€β”€β”€β”€β”€β”€β”€β”€β”€β”€β”€β”€β”€β”€β”˜

  β”Œβ”€β”€β”€β”€β”€β”€β”€β”€β”€β”€β”     β”Œβ”€β”€β”€β”€β”€β”€β”€β”€β”€β”€β”€β”€β”€β”€β”€β”€β”€β”€β”€β”€β”€β”€β”€β”€β”€β”€β”€β”€β”€β”€β”€β”€β”€β”
  β”‚  Agents  │────▢│         Shadow State            │◀─── UI reads (< 200ms)
  β”‚ (300/s)  β”‚     β”‚  (MariaDB: status, sync_status) β”‚
  β””β”€β”€β”€β”€β”€β”€β”€β”€β”€β”€β”˜     β””β”€β”€β”€β”€β”€β”€β”€β”€β”€β”€β”€β”€β”€β”€β”€β”¬β”€β”€β”€β”€β”€β”€β”€β”€β”€β”€β”€β”€β”€β”€β”€β”€β”€β”˜
                                   β”‚
                                   β–Ό
                         β”Œβ”€β”€β”€β”€β”€β”€β”€β”€β”€β”€β”€β”€β”€β”€β”€β”€β”€β”
                         β”‚  Outbox Table   β”‚
                         β”‚ (same DB, txn)  β”‚
                         β””β”€β”€β”€β”€β”€β”€β”€β”€β”¬β”€β”€β”€β”€β”€β”€β”€β”€β”˜
                                  β”‚
                                  β–Ό
                         β”Œβ”€β”€β”€β”€β”€β”€β”€β”€β”€β”€β”€β”€β”€β”€β”€β”€β”€β”
                         β”‚   Classifier    β”‚
                         β””β”€β”€β”€β”¬β”€β”€β”€β”€β”€β”¬β”€β”€β”€β”€β”€β”¬β”€β”˜
                             β”‚     β”‚     β”‚
              β”Œβ”€β”€β”€β”€β”€β”€β”€β”€β”€β”€β”€β”€β”€β”€β”˜     β”‚     └──────────────┐
              β–Ό                    β–Ό                    β–Ό
    β”Œβ”€β”€β”€β”€β”€β”€β”€β”€β”€β”€β”€β”€β”€β”€β”     β”Œβ”€β”€β”€β”€β”€β”€β”€β”€β”€β”€β”€β”€β”€β”€β”     β”Œβ”€β”€β”€β”€β”€β”€β”€β”€β”€β”€β”€β”€β”€β”€β”
    β”‚ Emergency Q  β”‚     β”‚Transactional β”‚     β”‚LWW Coalescer β”‚
    β”‚    (~2%)     β”‚     β”‚    (~18%)    β”‚     β”‚   (~80%)     β”‚
    β”‚  SLO: 30s    β”‚     β”‚ No compress  β”‚     β”‚ Debounce 2m  β”‚
    β””β”€β”€β”€β”€β”€β”€β”¬β”€β”€β”€β”€β”€β”€β”€β”˜     β””β”€β”€β”€β”€β”€β”€β”¬β”€β”€β”€β”€β”€β”€β”€β”˜     β””β”€β”€β”€β”€β”€β”€β”¬β”€β”€β”€β”€β”€β”€β”€β”˜
           β”‚                    β”‚                    β”‚
           β””β”€β”€β”€β”€β”€β”€β”€β”€β”€β”€β”€β”€β”€β”€β”€β”€β”€β”€β”€β”€β”Όβ”€β”€β”€β”€β”€β”€β”€β”€β”€β”€β”€β”€β”€β”€β”€β”€β”€β”€β”€β”€β”˜
                                β–Ό
                    β”Œβ”€β”€β”€β”€β”€β”€β”€β”€β”€β”€β”€β”€β”€β”€β”€β”€β”€β”€β”€β”€β”€β”€β”€β”
                    β”‚  Weighted Scheduler   β”‚
                    β”‚  Emergency = ABSOLUTE β”‚
                    β”‚  Txn : LWW = 3 : 1    β”‚
                    β””β”€β”€β”€β”€β”€β”€β”€β”€β”€β”€β”€β”¬β”€β”€β”€β”€β”€β”€β”€β”€β”€β”€β”€β”˜
                                β”‚
                                β–Ό
              β”Œβ”€β”€β”€β”€β”€β”€β”€β”€β”€β”€β”€β”€β”€β”€β”€β”€β”€β”€β”€β”€β”€β”€β”€β”€β”€β”€β”€β”€β”€β”€β”€β”€β”€β”€β”€β”€β”€β”
              β”‚         SINGLETON WRITER            β”‚
              β”‚  β€’ Lease + Epoch (fencing)          β”‚
              β”‚  β€’ Nonce Ledger (crash-safe)        β”‚
              β”‚  β€’ Circuit Breaker (ban)            β”‚
              β”‚  β€’ Single TCP Socket                β”‚
              β””β”€β”€β”€β”€β”€β”€β”€β”€β”€β”€β”€β”€β”€β”€β”€β”€β”€β”¬β”€β”€β”€β”€β”€β”€β”€β”€β”€β”€β”€β”€β”€β”€β”€β”€β”€β”€β”€β”˜
                                β”‚
                                β–Ό
                      β”Œβ”€β”€β”€β”€β”€β”€β”€β”€β”€β”€β”€β”€β”€β”€β”€β”€β”€β”
                      β”‚    OldHost      β”‚
                      β”‚  (2.5 ops/sec)  β”‚
                      β””β”€β”€β”€β”€β”€β”€β”€β”€β”€β”€β”€β”€β”€β”€β”€β”€β”€β”˜

Key Design Decisions

DecisionRationale
Shadow StateDecouples UI speed from OldHost latency
Outbox PatternAtomic: business write + event publish in one transaction
LWW CoalescingCompresses 8,000 status updates β†’ 2,500 ops
3 Priority QueuesPrevents housekeeping from starving emergencies
Singleton WriterOldHost requires single socket + sequential nonces
Lease + EpochPrevents split-brain after failover

4. Deep Dives (15-20 min)

Deep Dive 1: Traffic Shaping (The 300β†’2.5 Compression)

The Math

Peak: 10,000 events in 30 minutes

Event Classification:
β”œβ”€β”€ LWW (80%):     8,000 events β†’ ~2,500 unique entities β†’ 2,500 ops βœ“
β”œβ”€β”€ Transactional: 1,800 events β†’ 1,800 ops (no compression)
└── Emergency:       200 events β†’   200 ops (no compression)

Total after coalescing: 2,500 + 1,800 + 200 = 4,500 ops
Capacity: 2.5 ops/sec Γ— 1,800 sec = 4,500 ops βœ“ EXACTLY AT LIMIT

LWW Coalescer Implementation

class LWWCoalescer:
    def __init__(self):
        self.buffer = {}  # entity_key β†’ (event, timestamp, timer)
        self.debounce_ms = 120_000  # 2 minutes
    
    def add(self, event):
        key = f"{event.entity_type}:{event.entity_id}"
        
        if key in self.buffer:
            old_event, _, timer = self.buffer[key]
            timer.cancel()  # Cancel pending flush
            
            if event.timestamp <= old_event.timestamp:
                return  # Discard older event (Last Write Wins)
        
        # Store latest, start new debounce timer
        timer = Timer(self.debounce_ms, lambda: self.flush(key))
        self.buffer[key] = (event, event.timestamp, timer)
        timer.start()

Deep Dive 2: Singleton Writer & Nonce Safety

Why Singleton?

Lease-Based Leader Election

-- Acquire lease (atomic compare-and-swap)
UPDATE writer_lease
SET owner_id = :new_owner,
    epoch = epoch + 1,          -- Fencing token increments!
    acquired_at = NOW(),
    expires_at = NOW() + INTERVAL 30 SECOND
WHERE expires_at < NOW()        -- Only if expired
   OR owner_id = :new_owner;    -- Or we already own it

Fencing Token Enforcement

class SingletonWriter:
    def send_to_oldhost(self, request):
        # Before EVERY request, verify our epoch is still valid
        current_epoch = db.query(
            "SELECT epoch FROM writer_lease WHERE owner_id = ?", 
            self.owner_id
        )
        
        if current_epoch != self.my_epoch:
            raise FencedOutError("Another writer took over!")
        
        return self.socket.send(request)

Deep Dive 3: Crash Recovery

Scenario: Writer sends nonce 500, crashes before recording response

1. Writer A crashes after sending nonce 500
   DB state: nonce_requests[500] = SENT
   OldHost: May or may not have processed it

2. Writer B acquires lease (epoch = old_epoch + 1)

3. Writer B runs recovery:
   a. Query: SELECT * FROM nonce_requests WHERE status IN ('RESERVED', 'SENT')
   b. Found: nonce 500, status SENT
   c. Call: GET /expected-nonce β†’ returns 501
   d. 501 > 500, so nonce 500 was applied!
   e. Update: nonce_requests[500].status = APPLIED
   f. Continue from nonce 501

Recovery Code

def recover_from_crash():
    pending = db.query(
        "SELECT * FROM nonce_requests WHERE status IN ('RESERVED', 'SENT')"
    )
    
    if not pending:
        return  # Clean state
    
    # Call OldHost once to reconcile
    expected = oldhost.get_expected_nonce()
    
    for req in pending:
        if req.nonce < expected:
            # OldHost processed it
            db.update("nonce_requests", {status: "APPLIED"}, where={nonce: req.nonce})
        elif req.nonce == expected:
            # Lost in flight, resend
            resend(req)
        else:
            # req.nonce > expected = GAP (should never happen!)
            alert_ops("P0", f"Nonce gap: expected {expected}, have {req.nonce}")
            raise CriticalError()

Deep Dive 4: Ban Handling (Circuit Breaker)

class BanCircuitBreaker:
    def __init__(self):
        self.state = "CLOSED"
        self.ban_duration = 15 * 60  # 15 minutes
        self.opened_at = None
    
    def on_replay_detected(self):
        self.state = "OPEN"
        self.opened_at = time.now()
        alert_ops("P0", "Nonce replay! Circuit breaker OPEN for 15 min")
    
    def is_open(self):
        if self.state == "CLOSED":
            return False
        
        elapsed = time.now() - self.opened_at
        if elapsed >= self.ban_duration:
            self.state = "CLOSED"
            return False
        
        return True

Backlog During Ban

Ban: 15 min = 900 seconds
Incoming: 5.5 ops/sec Γ— 900 = 4,950 raw events
After coalescing: ~2,000 events

Drain after ban: 2,000 / 2.5 = 800 sec = ~13 min
Total recovery: 15 + 13 = 28 minutes (within 4h SLA βœ“)

5. Summary

ComponentPurpose
Shadow StateInstant UI response (< 200ms)
Outbox PatternAtomic, durable event capture
3 Priority QueuesEmergency (30s SLO), Transactional, LWW
LWW CoalescerCompresses 80% of traffic
Weighted SchedulerFair scheduling with emergency priority
Singleton WriterSingle socket + sequential nonces
Lease + EpochFencing for crash recovery
Nonce LedgerCrash-safe nonce state
Circuit BreakerBan recovery

Key Numbers to Remember

120x
Compression ratio
80/18/2
LWW/TXN/Emergency %
30s
Lease TTL
2min
Debounce window